皇冠信用网开户_小米SUV隐藏式门把手遭吐槽!雷军评论区沦陷
时间:2024-12-10 阅读:11968 评论:152
皇冠体育开户(www.hgty.us—)开会员号,招代理/条件好/平台出租/招登1登2登3地区代理今年3月,小米SU7上市发布皇冠信用网开户。发布会上,小米董事长雷军对小米SU7的半隐藏式门把手进行了大篇幅的介绍,车型上市后这一设计也获得了大量车主的认可。
然而,12月9日晚间,小米首款SUV——小米YU7登陆工信部,证件照显示该车似乎放弃了半隐藏式门把手,改用了真正的全隐藏式门把手皇冠信用网开户。
目前,有大量网友对于小米弃用半隐藏式门把手感到不满,雷军本人的评论区里更是有不少人希望小米可以给出解释,甚至直接重新改回半隐藏式门把手,相关评论最高获得了接近4000点赞皇冠信用网开户。
展开全文
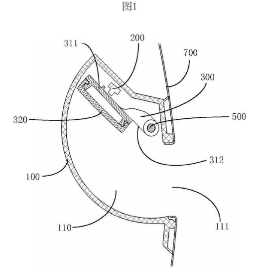
然而,虽然工信部照片显示小米YU7的门把手设计与小米SU7不同,但根据此前的一份申请专利,小米YU7的门把手或许并非大家认为的弹出式,其表面可能只是一个盖子,打开后用户可以伸手进去拉开车门,是小米SU7半隐藏式门把手的升级版皇冠信用网开户。
不过截止发稿前,小米官方暂未公布YU7的门把手设计细节,以上只是根据专利推测皇冠信用网开户。
工信部信息显示,小米YU7的长宽高分别为4999mm/1996mm/1600mm,轴距3000mm,搭载了前后双电机,电动机型号分别为YS210XY103/TZ220XY109,最高功率508千瓦,整车质量为2405kg皇冠信用网开户。
本文转载自手机中国皇冠信用网开户。
猜你喜欢
- 2025-10-17皇冠信用网账号申请_中国对等反制收到成效,首艘美国船只停靠宁波港,缴付近500万港务费
- 2025-10-17皇冠信用网开户_A股缩量调整银行板块“五连阳”,机构:牛市会抚平每一处“洼地”
- 2025-10-16如何申请皇冠信用网_西方33国抱团取暖,希望中国收回成命,不料中方迅速打响第二波反制!
- 2025-10-15皇冠登3代理出租_山姆枣泥核桃蛋糕吃出“一颗牙”?客服回应:很惊讶,已反馈工厂排查
- 2025-10-15皇冠信用网怎么开户_欧洲首队!世预赛-凯恩两球 英格兰5-0拉脱维亚进世界杯
- 2025-10-15皇冠信用網最新地址_湖北一男子辞掉月薪2万元工作,带9岁儿子徒步千里,计划60天走到山东……原因让人泪目
- 2025-10-15皇冠登一登二登三区别_数额特别巨大~陕西省汉中市政协原副主席曹俊强涉嫌受贿罪一案提起公诉
- 2025-10-13皇冠信用網会员注册网址_炸了一夜,俄军大轰炸,基辅大停电:俄乌战争3年,普京太仁慈了
- 2025-10-13皇冠信用網登2_提醒!明天北京多条道路有临时交通管制
- 2025-10-12信用网如何申请_不必自己吓自己!明天A股的应对思路就在这里
- 2025-10-12皇冠信用網代理申请_世界杯在望!哈兰德戴帽+两度丢点 挪威5-0以色列取6连胜
- 2025-10-12怎么注册皇冠信用盘_70岁婆婆因交通事故身亡,身上未遗留身份证件 广安警方寻找家属和知情者
网友评论